Kenmore Dishwasher Model 587 Parts Diagram Reviewmotors.co

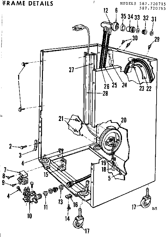
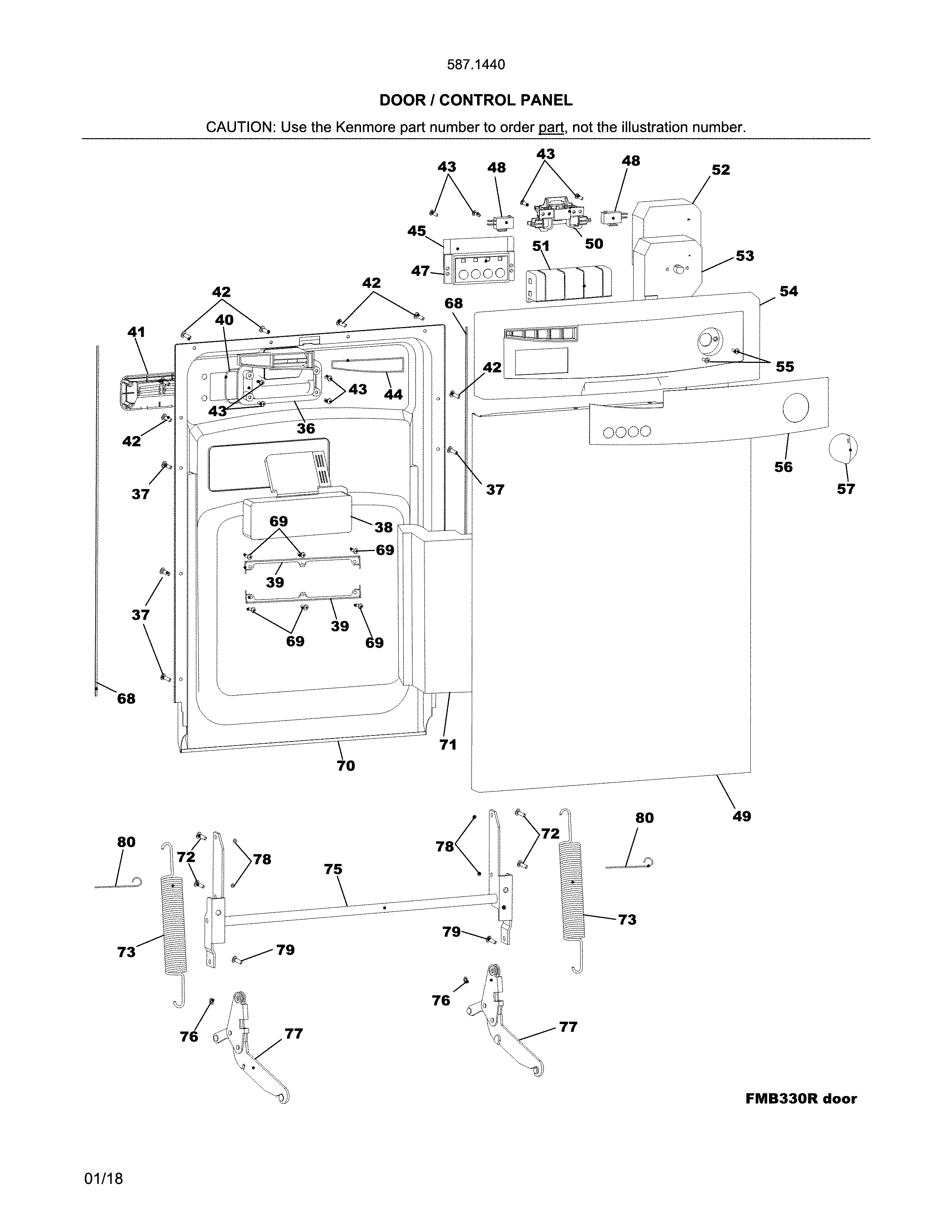
Kenmore 587 Dishwasher Parts. Kenmore Dishwasher Model 587.14019400 Parts Fast Shipping at You can also view diagrams and manuals, review common problems that may help answer your questions, watch related videos, read insightful articles or use our repair help. The dishwasher is 4 years old, so I figured since it.

Kenmore 587.14019410B Dishwasher Drain Hose Genuine OEM
Kenmore 587.14019410B Dishwasher Drain Hose Genuine OEM from www.genuinereplacementparts.com

Kenmore Dishwasher Model 587.15232900 Parts are easily labeled on this page to help you find the correct component for your repair When that happens, trust Genuine Replacement Parts to have the parts you need to get the Kenmore dishwasher part replacement to fix your appliance

Kenmore 587.14019410B Dishwasher Drain Hose Genuine OEM

Kenmore Dishwasher Model 587.15232900 Parts are easily labeled on this page to help you find the correct component for your repair Kenmore 58715233900A dishwasher parts - manufacturer-approved parts for a proper fit every time! We also have installation guides, diagrams and manuals to help you along the way! Can't find your part? Contact us: +1-309-603-4777 The best way to find parts for Kenmore / Sears dishwasher model 587.14013415B (58714013415B, 587 14013415B) is by clicking one of the diagrams below

Kenmore 587.14019413B Front Dishwasher Pump ORing Genuine OEM. You can also view 587.14402400 parts diagrams and manuals, watch related videos or review common problems that may help answer your questions to get started on fixing your Dishwasher model. Filter results by part category, part title and lawn mower symptoms

Parts For Kenmore Dishwasher Model 587 Reviewmotors.co. 4317943 Kenmore Refrigerator Model 431.7943 (4317943, 431 7943) Parts 10650023211 REFRIGERATOR 59672003016 REFRIGERATOR Kenmore 58715233900A dishwasher parts - manufacturer-approved parts for a proper fit every time! We also have installation guides, diagrams and manuals to help you along the way! Can't find your part? Contact us: +1-309-603-4777